






















































































































Комплектация: профилированный корпус душевого лотка, вкладка, гидрозатвор, монтажный фланец, уплотнительная манжета, предварительно установленная на заводе, компенсатор высоты, отводящий патрубок, сетчатый фильтр, комплект креплений.
Технические характеристики:
нержавеющая сталь;
класс нагрузки K=300 кг;
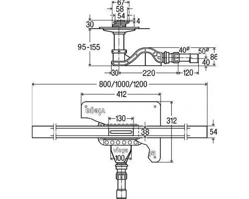
высота гидрозатвора 50 мм;
пропускная способность при высоте подпора 10 мм 0,5 л/с;
пропускная способность при высоте подпора 20 мм 0,55 л/с;
цвет: неполированная нержавеющая сталь.
Указанная пропускная способность достигается с установленным сетчатым фильтром! При использовании данной модели, из-за высокого расположения соединительного патрубка невозможно обеспечить достаточную толщину стяжки. Проектировщикам необходимо учитывать это заранее. Одним из возможных решений на месте может быть изменение размера плитки и/или использование наливного эпоксидного пола.
Основные характеристики
Габариты и вес
Нет отзывов о данном товаре.